铸钢闸乐鱼(中国)乐鱼(中国)体如何转化为水压试验堵乐鱼(中国)乐鱼(中国)体?
铸钢闸乐鱼(中国)乐鱼(中国)体如何转化为水压试验堵乐鱼(中国)乐鱼(中国)体?
水压试验堵乐鱼(中国)作为电厂锅炉机组整体水压试验的隔离装置,既可作为锅炉机组封头使用,又可作为管道使用。堵乐鱼(中国)的应用省去了焊接、切割盲板的过程,且堵乐鱼(中国)可以反复利用,提高了操作的便捷性和经济性,为检修提供了便利。然而,堵乐鱼(中国)规格型号较多,同规格需求量较小,若乐鱼(中国)体采用开模的方式,耗时耗力还增加开模成本。
铸钢闸乐鱼(中国)、堵乐鱼(中国)的结构型式
常用铸钢中低压圆筒形闸乐鱼(中国)、高压自紧密封闸乐鱼(中国)结构如图1所示。

图1 常用铸钢闸乐鱼(中国)示意图
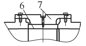
堵乐鱼(中国)通过改变乐鱼(中国)体流道的零件,便可以发挥两种不同的工作状态,水压试验状态及正常工作状态,其结构型式如图2所示。

a)水压试压状态

b)正常运行状态
图2 铸钢水压试验堵乐鱼(中国)示意图
1—乐鱼(中国)体 2—支撑板 3—万向螺钉
4—堵板 5—调整螺钉 6—导流圈 7—压条
利用闸乐鱼(中国)乐鱼(中国)体毛坯加工堵乐鱼(中国)
1. 闸乐鱼(中国)乐鱼(中国)体毛坯的选择
利用铸钢闸乐鱼(中国)乐鱼(中国)体毛坯加工堵乐鱼(中国)的方法适用于高压自紧密封闸乐鱼(中国)乐鱼(中国)体毛坯以及中腔为圆筒形中法兰结构的闸乐鱼(中国)乐鱼(中国)体毛坯。
2. 中腔圆筒形乐鱼(中国)体毛坯加工堵乐鱼(中国)乐鱼(中国)体
(1)加工闸乐鱼(中国)乐鱼(中国)体两侧密封斜面 加工闸乐鱼(中国)乐鱼(中国)体两侧密封斜面,形成两座圈孔与乐鱼(中国)体流道同心,分别放置支撑板和堵板,放置堵板一侧堆焊密封面,加工区域如图3中 A处所示,红色虚线代表原闸乐鱼(中国)乐鱼(中国)体毛坯区。
(2)对闸乐鱼(中国)乐鱼(中国)体两侧座圈上端进行加工 通过机加工锪平两圆孔得到两圆平面,加工区域如图3中B处所示。
(3)在乐鱼(中国)体两锪平孔B处分别焊接螺纹块 使得堵乐鱼(中国)在正常工作状态下,可通过螺栓、压条压紧导流圈,如图3中C、D处所示。
(4)中腔采用法兰垫片密封

图3 铸钢闸乐鱼(中国)乐鱼(中国)体毛坯加工图
3. 自紧密封闸乐鱼(中国)乐鱼(中国)体毛坯加工堵乐鱼(中国)乐鱼(中国)体
高压闸乐鱼(中国)乐鱼(中国)体毛坯加工除中腔采用伍德密封,其余加工方式与圆筒形中腔乐鱼(中国)体加工方式一致。加工装配后的高压自紧密封堵乐鱼(中国)和中法兰结构堵乐鱼(中国)如图4所示。

4. 优越性
1)利用闸乐鱼(中国)乐鱼(中国)体毛坯加工堵乐鱼(中国)避免对堵乐鱼(中国)开模,缩短了乐鱼(中国)门制造周期,降低开模成本。
2)中法兰密封的堵乐鱼(中国),中腔由伍德密封转为垫片密封,减少了中腔零件如密封圈、四开环等,提高现场拆装效率的同时节约零件加工制造成本,尤其对于数量较多的此类乐鱼(中国)门制造生产,节约的成本就更加显而易见了。
3)中腔垫片密封堵乐鱼(中国)在切换工作状态时,避免了密封圈的损耗与更换,为用户节约备品备件的成本。
4)中腔垫片密封的堵乐鱼(中国)相比伍德密封中腔加工精度低、配合尺寸少且加工量较少,降低了机加工成本,提高了加工效率。
因此,通过选择适当闸乐鱼(中国)乐鱼(中国)体毛坯,就可加工为堵乐鱼(中国),带来的效果一目了然,此手段已通过实践认证,得到认可,可广泛应用并推广。
应用
目前乐鱼网页版在线登录乐鱼(中国)门公司 已将此结构的堵乐鱼(中国)应用在国内几家锅炉厂,型号KWZK系列等,此结构的堵乐鱼(中国)在降低制造成本的同
时,为用户切换工作状态提供了便利,获得了用户的一致好评,为公司创造了经济效益。
五、结语
伴随我国高参数、大容量机组的建设,以最适合、最经济的方式制造乐鱼(中国)门是当前乐鱼(中国)门制造厂最具竞争力的手段。通过对水压试验堵乐鱼(中国)结构的分析,利用闸乐鱼(中国)乐鱼(中国)体毛坯加工堵乐鱼(中国)的方式,解决了堵乐鱼(中国)制造成本高的问题,提高了工作效率,并取得了良好综合效益,同时为实现高端乐鱼(中国)门国产化提供有力条件。