行业知识

一种贵金属热电偶焊接装置

2023-02-06 10:00:16 乐鱼网页版在线登录

一种贵金属热电偶焊接装置

本实用新型公开了一种贵金属热电偶简易焊接装置,其包括变压器、焊接开关和两个碳棒电极,所述变压器的原边线圈通过电缆与交流电源连接,副边线圈的首端通过导线与一个碳棒电极连接,另一个碳棒电极依次通过导线和焊接开关与变压器副边线圈的尾端连接,两个碳棒电极之间产生的电弧处放置待焊接的热电偶丝。本实用新型利用固定的交流电压,通过碳棒电极短路瞬间产生的高温将热电偶丝溶化,从而达到焊接热电偶丝的目的。该装置具有结构简单、体积小巧、携带和操作方便、对仪表维检工人的技能水平要求低等优点,特别适合仪表维检工对断丝的贵金属热电偶进行现场修复,可提高热电偶维修效率,降低维检人员的劳动强度,减少企业的经济损失。

图片关键词

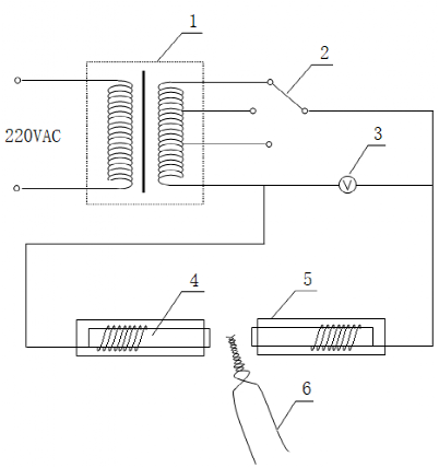
1、一种贵金属热电偶简易焊接装置,其特征是,包括变压器(1)、焊接开关(2)和两个碳棒电极(4),所述变压器(1)的原边线圈通过电缆与交流电源连接,副边线圈的首端通过导线与一个碳棒电极(4)连接,另一个碳棒电极(4)依次通过导线和焊接开关(2)与变压器(1)副边线圈的尾端连接,两个碳棒电极(4)之间产生的电弧处放置待焊接的热电偶丝(6)。

2、根据权利要求1所述的一种贵金属热电偶简易焊接装置,其特征是,所述焊接开关(2)为转换开关,所述变压器(1)的副边线圈具有多个抽头,所述转换开关的静触头通过导线与碳棒电极(4)连接,多个动触头分别与副边线圈的尾端和多个抽头连接。

3、根据权利要求1或2所述的一种贵金属热电偶简易焊接装置,其特征是,还包括电压表(3),所述电压表(3)的两端分别与两个碳棒电极(4)连接。

4、根据权利要求3所述的一种贵金属热电偶简易焊接装置,其特征是,每个碳棒电极(4)的外部均设有绝缘护套(5)。

5、根据权利要求4所述的一种贵金属热电偶简易焊接装置,其特征是,与碳棒电极(4)相连接的导线在碳棒电极(4)上缠绕5-10圈。


一种贵金属热电偶简易焊接装置

技术领域

本实用新型涉及一种简易的铂铑热电偶丝焊接装置,适用于修复断丝的热电偶,属于焊接技术领域。


背景技术

贵金属热电偶因具有测量范围广、精度高等优点,已在工业生产中得到广泛应用。虽然铂和铑都属于贵金属,其价格较为昂贵,但由于铂铑—铂热电偶丝的焊接比较困难,所以一旦热电偶出现断丝故障,一般都是把它当做废品处理,而无论更换新电偶丝还是更换新的热电偶都会给企业造成较大的经济损失。


对出现断丝故障的热电偶进行焊接维修可以有效降低企业的经济损失,但由于现有的贵金属热电偶丝焊接装置(如电弧焊机、气焊机、对焊机等)都比较笨重,携带和搬运都比较困难,用这种焊接装置对断丝热电偶进行现场维修,会大大增加维修人员的劳动强度,降低维修效率,因此设计一种结构简单、体积小巧、操作方便的贵金属热电偶简易焊接装置是十分必要的。


实用新型内容

本实用新型的目的在于针对现有技术之弊端,提供一种贵金属热电偶简易焊接装置,以提高热电偶维修效率,降低维修人员的劳动强度,减少企业的经济损失。


为实现上述目的,本实用新型采用如下技术方案:


一种贵金属热电偶简易焊接装置,包括变压器、焊接开关和两个碳棒电极,所述变压器的原边线圈通过电缆与交流电源连接,副边线圈的首端通过导线与一个碳棒电极连接,另一个碳棒电极依次通过导线和焊接开关与变压器副边线圈的尾端连接,两个碳棒电极之间产生的电弧处放置待焊接的热电偶丝。


上述贵金属热电偶简易焊接装置,所述焊接开关为转换开关,所述变压器的副边线圈具有多个抽头,所述转换开关的静触头通过导线与碳棒电极连接,多个动触头分别与副边线圈的尾端和多个抽头连接。


上述贵金属热电偶简易焊接装置,还包括电压表,所述电压表的两端分别与两个碳棒电极连接。


上述贵金属热电偶简易焊接装置,每个碳棒电极的外部均设有绝缘护套。


上述贵金属热电偶简易焊接装置,与碳棒电极相连接的导线在碳棒电极上缠绕5-10圈。


本实用新型利用固定的交流电压,通过碳棒电极短路瞬间产生的高温将热电偶丝溶化,从而达到焊接热电偶丝的目的。该装置具有结构简单、体积小巧、携带和操作方便、对仪表维检工人的技能水平要求低等优点,特别适合仪表维检工对断丝的贵金属热电偶进行现场修复,可提高热电偶维修效率,降低维检人员的劳动强度,减少企业的经济损失。


附图说明

下面结合附图和具体实施方式对本实用新型作进一步详细的说明。

图1是本实用新型的结构示意图。

图中各标号如下:1、变压器,2、焊接开关,3、电压表,4、碳棒电极,5、绝缘护套,6、热电偶丝。


具体实施方式

本实用新型提供了一种贵金属热电偶简易焊接装置,适用于修复废旧的铂铑-铂热电偶丝,焊接现场断裂的热电偶丝,保证修复后的热电偶的测量精度能够满足工艺需求,而且操作简单,重复利用率高。


参看图1,本实用新型主要包括变压器1、焊接开关2、电压表3、碳棒电极4和绝缘护套5,变压器1输入为220VAC,输出为36VAC、24VAC和12VAC,根据热电偶丝6的直径有三种输出电压可以选择。焊接开关2为转换开关,通过操作其旋钮即可选择不同的电压。


变压器1的原边线圈接220VAC电源。变压器副边线圈的输出电压接碳棒电极4,所修复的热电偶丝6扭结在一起后放置在两个碳棒电极4之间。本实用新型利用固定电压,通过碳棒电极短路瞬间产生的高温将热电偶丝6溶化,从而达到焊接热电偶丝6的目的。


本实用新型是根据低电压高电流原理设计,通过大电流来融化电偶丝,在满足工艺需要的同时,降低焊接成本和消耗。


电压表3选用小型4位高精度数码电压表,确保满足焊接电偶丝的需要,提高电压测量的准确性,变压器1选用具有抽头的220VAC变压器,可准确调整需要的电压。


碳棒电极4可以用1#干电池极芯制作,变压器输出根据需要选择36VAC、24VAC、12VAC交流,变压器1的额定电流也是很重要的参数,热电偶的直径不同,熔点也不相同,体现在变压器上就是输出电压和电流不同。为了使额定电流满足要求,绕制变压器1的线圈时应选择直径合适的漆包线,根据经验,漆包线直径与变压器输出电压的关系一般为:


φ0.3mm 18-20VAC

φ0.5mm 19-22VAC

φ0.7mm 22-26VAC

φ1.0mm 30-35VAC


热电偶丝双绞时不要绞太多,绞两圈就可以,焊接时碳棒电极尖头对热电偶丝成垂直状态,焊接前在热电偶端放点硼砂,这样焊点易成形而且圆滑。本实施例中,变压器最大输入电流10A;额定功率150VA;额定电流300。


电压表3起到指示作用,防止选择错误电压。与碳棒电极相连接的导线在碳棒电极上缠绕5-10圈,保证接触良好。绝缘护套5由绝缘材料制成,把碳棒电极密封在其中,防止焊接时触电。


焊接过程:准备好热电偶丝,墨镜和绝缘手套,接好电源,送电后按照热电偶丝的直径调节好电压值。将热电偶丝一端绞在一起放在两个炭棒电极中间,两个碳棒触碰,由于短路产生高温电弧将热电偶端头溶成小球(要求直径大小为线芯的两倍,可通过多次点击表面或调接电压至满意为止)。

图片关键词

图1

TAG: 热电偶
首页
产品
新闻
联系